代理PAM8403芯片,技术支援,现货
- 2020-11-14 11:57:00
- 夸克微 原创
- 2972
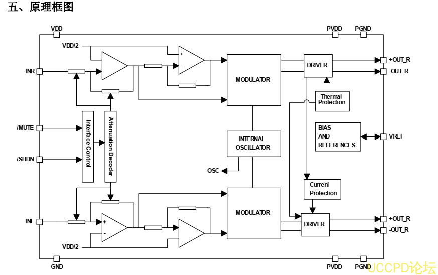
PAM8403 是一颗输出功率为 3 瓦特的 D 类音频功率放大器 IC,它具有谐波失真低,噪声串扰小的特点使其对声音的重放得到较好的音质。采用新型无耦合输出及无低通滤波电路之架构,使其可直接驱动喇叭降低了整个方案成本及 PCB 空间的占用。在相同的外围元器件个数下,D 类功放 IC PAM8403 比甲类功放的效率要好得多,这样就延长了电池的续航力,是携便式设备(如笔记本电脑等)的理想选择。
PAM8403 采用 SOP-16 封装。
二、特点
无滤波器的 D 类放大器,低静态电流和低 EMI;
在 4Ω负载和 5V 电源条件下,提供高达 3W 输出功率;
高达 90%效率;
低 THD,低噪声;
短路电流保护;
热保护;
极少外部元器件,节省空间和成本;
无铅封装。
三、应用
LCD 电视机、监视器;
笔记本电脑;
便携式扬声器;
便携式 DVD 播放器,游戏机;
手机/免提电话。
代理商:深圳市夸克微科技 郑先生 :13528458039 QQ 2867714804
发表评论

